Tuesday, November 11, 2025

ITI Exam

आईटीआई परीक्षा की बेहतर तैयारी

ITI Exam

आईटीआई परीक्षा की बेहतर तैयारी

ITI CBT Exam Paper

ITI Mechanic Motor Vehicle (MMV) 2nd Year CBT Exam Practice Paper 3

Q1. Which type of gear box provided with helical gears?
Q2. What is the name of part marked as ‘X’ in the solenoid switch?
Q3. What is the name of part marked as ‘X’ in the ignition coil?
Q4. What is the validity period for transport vehicle license?
Q5. What will be the result of defective clutch?
Q6. Which is the part of servo motor assembly?
Q7. Why light weight cars use low steering ratio?
Q8. What is the cause for alternator no charge when engine is running?
Q9. What causes high oil pressure?
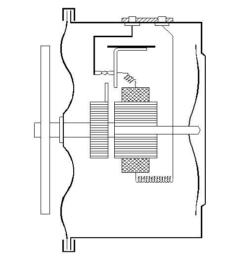
Q10. What is the name of part marked as ‘X’ in the horn circuit?
Q11. Which factor affecting suspension?
Q12. What will be the probable reason of low oil pressure?
Q13. Which is noise free clutch?
Q14. What is the type of horn?
Q15. What is the type of drive line?
Q16. Which sensor causes off the outside air inlet or other odours?
Q17. What is the expansion of GPS in vehicle safety system?
Q18. What is the name of device?
Q19. What is the name of component in the integral power steering system?
Q20. What is the servicing procedure carried out in the wheel?
Q21. Where the starter motor located?
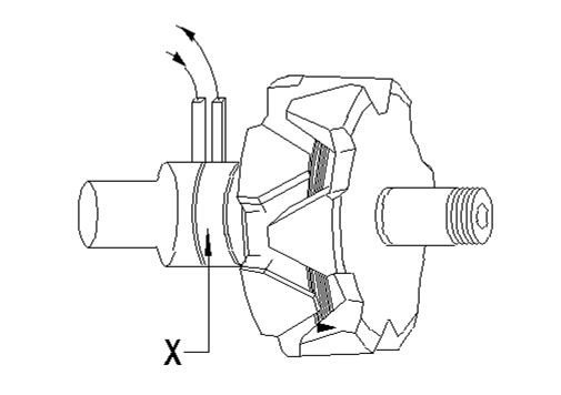
Q22. What is the name of part marked as ‘X’ in the rotor assembly?
Q23. What is the advantage of dual mass fly wheel?
Q24. Which system determine the vehicles location by forming a triangle with a group of four or more satellites?
Q25. What is the type of constant velocity joint?
Q26. How many spark plugs are ignited at the same time in the distributor less ignition system?
Q27. Where the ambient temperature sensor is located in the vehicle?
Q28. What is the result of weak compression pressure?
Q29. How to rectify the defect of noise in hydraulic steering?
Q30. Which part of ignition system connects and disconnects primary circuit?
Q31. What is the name of shock absorber?
Q32. What does the 3rd digit code no 9. indicate system trouble in scan tool letter codes?
Q33. Which type of gear converts rotary motion in to linear motion and vice versa?
Q34. What is the function of traction control system?
Q35. What is the type of fixed constant velocity joint?
Q36. What is the type of joint?
Q37. What is the function of ambient temperature sensor in the air conditioning system?
Q38. What is the name of part marked as ‘X’ in the mechanical brake?
Q39. What is the cause for low power generation?
Q40. How the tyre height is calculated?
Q41. What is the name of part marked as ‘X’ in the single plate clutch?
Q42. Which type of shock absorber maintain vehicle ride at a pre - set level according to the load placed over the rear axle?
Q43. Which wire of servo motor connected to power supply?
Q44. Which type of ECU control actuators of engine?
Q45. What is the name of Horn?
Q46. What is the name of distance between most protruding portions on both sides of tyre?
Q47. What does the third digit of system trouble code no.6 deals with in scan tool letter code?
Q48. What is the purpose of indexing pin provided in the bulb case?
Q49. How much is the current consumption of wind shield wiper motor?
Q50. What is the main feature of hydraulic actuated clutches?
Mechanic Motor Vehicle 2nd Year cbt exam paper 3
You got {{userScore}} out of {{maxScore}} correct
{{title}}
{{image}}
{{content}}
Youtube Click here
Telegram Group Join Now
Whatsapp Group Join Now
Facebook Group Join Now
Instagram Follow
Application Download Now

Leave a Reply

Your email address will not be published. Required fields are marked *