Thursday, December 11, 2025

ITI Exam

आईटीआई परीक्षा की बेहतर तैयारी

ITI Exam

आईटीआई परीक्षा की बेहतर तैयारी

Uncategorized

ITI Mechanic Motor Vehicle (MMV) 2nd Year CBT Exam Practice Paper 1

Q1. What is the purpose of ‘V’ pulley in the charging system?
Q2. What is the servicing procedure carried out in the wheel?
Q3. What is the name of angle marked as ‘X’ in the steering system?
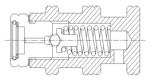
Q4. What is the name of part marked as ‘X’ in the coil spring suspension?
Q5. What is the advantage of using power steering system?
Q6. What is the advantage of run flat tyres?
Q7. What is the name of component used in the integral power steering?
Q8. What is the name of device used in the automobile AC system?
Q9. What will effect in case of over inflated tyres?
Q10. What is the type of wheel cylinder?
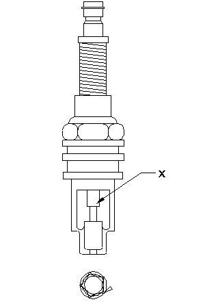
Q11. What is the name of part marked as ‘X’ in the spark plug?
Q12. Which type of gear box provided with helical gears?
Q13. Which device inflate the air bag in few milli seconds during vehicle collision?
Q14. What is the advantage of using non reactive suspension arrangement on multi-axle vehicles?
Q15. How much DC supply voltage required for servo motor?
Q16. What is the name of distance between most protruding portions on both sides of tyre?
Q17. Which type of gear will have more than one teeth in contact at the same time?
Q18. What is the name of sign?
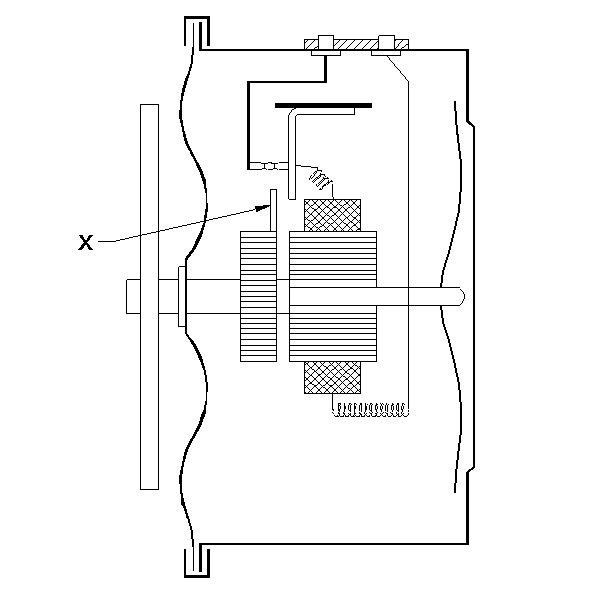
Q19. What is the name of part marked as ‘X’ in the armature winding?
Q20, What is the type of leaf spring?
Q21. What is the name of part marked as ‘X’ in the centrifugal advance mechanism?
Q22. Which light give indication to the traffic behind the vehicle for slowing down?
Q23. What is the name of part marked as ‘X’ in the armature winding?
Q24. Which type of gear converts rotary motion in to linear motion and vice versa?
Q25. What is the type of clutch?
Q26. What is the function of ignition coil?
Q27. What is the function of rotor assembly?
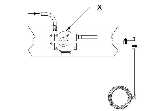
Q28. What is the name of part marked as ‘X’ in the Horn assembly?
Q29. What is the cause of noise in steering?
Q30. What is the function of ambient temperature sensor in the air conditioning system?
Q31. What is the name of sensor?
Q32. What is the name of device?
Q33. What is the name of part marked as ‘X’ in the multi point fuel injection?
Q34. What is the name of clutch?
Q35. What is the recommended value of combined angle in the steering system?
Q36. Why seat belt and air bag systems are necessary in the vehicle?
Q37. What is the type of braking system?
Q38. What does the traffic sign indicate?
Q39. What is the function of solenoid switch?
Q40. Where the ambient temperature sensor is located in the vehicle?
Q41. What is the type of defect?
Q42. How the tyre height is calculated?
Q43. What is the purpose of spokes provided in the wheel?
Q44. Which type of winding is connected to the starter switch in the solenoid switch?
Q45. Which sensor is used to alert the driver of unseen obstacles?
Q46. What is the name of part marked as ‘X’ in air suspension system?
Q47. What is the permitted diffraction angle of tripod joint?
Q48. Which principle is applicable for hydraulic brakes?
Q49. Which type of suspension spring cannot transfer wheel guidance forces?
Q50. What is the function of diodes?
Mechanic Motor Vehicle 2nd Year cbt exam paper 1
You got {{userScore}} out of {{maxScore}} correct
{{title}}
{{image}}
{{content}}
Youtube Click here
Telegram Group Join Now
Whatsapp Group Join Now
Facebook Group Join Now
Instagram Follow
Application Download Now

Leave a Reply

Your email address will not be published. Required fields are marked *