Thursday, May 21, 2026

ITI Exam

आईटीआई परीक्षा की बेहतर तैयारी

ITI Exam

आईटीआई परीक्षा की बेहतर तैयारी

ITI CBT Exam Paper

ITI Mechanic Motor Vehicle (MMV) 2nd Year CBT Exam Practice Paper 2

Q1. What is the type of shock absorber?
Q2. Which system making the drive cabin comfortable for driving?
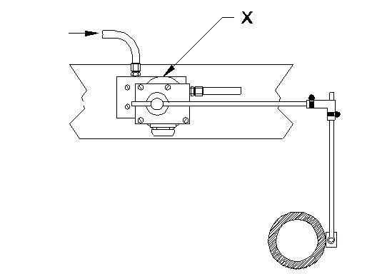
Q3. What is the name of angle marked as ‘X’?
Q4. What is the cause for ‘Hard steering’ in the hydraulic power steering system?
Q5. What is the expansion of GPS in vehicle safety system?
Q6. What is the impact of larger scrub radius?
Q7. What is the advantage of using single plate hydraulic clutch?
Q8. What is the cause of window glass is not lifting while motor running properly?
Q9. What will be the effect of clogged fuel tank vent hole?
Q10. What is the use of two small lamps fitted front and rear of vehicle?
Q11. What is the cause of electrodes burning in the spark plug?
Q12. What is the function of Rim in the wheel construction?
Q13. What is the name of drive?
Q14. Which is the heart of integral power steering system?
Q15. Which type of winding is connected to the starter switch in the solenoid switch?
Q16. What is the type of suspension system?
Q17. Where the tyre pressure sensor secured in the wheel assembly?
Q18. What is the function of EBD (Electronic Brake - Force Distribution) in anti lock brake system?
Q19. What is the name of part marked as ‘X’ in air suspension system?
Q20. Which law states that the induction of electromotive force in any closed circuit is equal to the rate of change of magnetic flux?
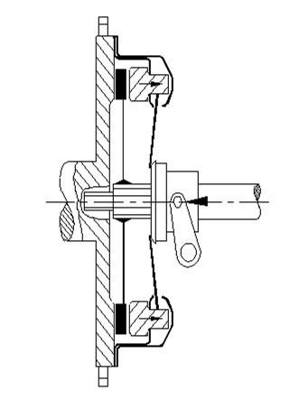
Q21. What is the name of part marked as ‘X’ in the starting circuit?
Q22. How the EBD (Electronic Brake Force Distribution) failure indicated to the driver?
Q23. Which part of heavy vehicle deals with static and dynamic loads without deflection or distortion?
Q24. Which part of ignition system connects and disconnects primary circuit?
Q25. What is the type of joint?
Q26.Why tyre wear found abnormal in the vehicle?
Q27. How the tyre is specified?
Q28. What is the purpose of breaker plate in the distributor?
Q29. Which sensor is used to sense vibration?
Q30. What causes horn sounds continuously even switch is in off position?
Q31. What is the advantage of using constant mesh gear box?
Q32. What is the cause of “Poor self centering” in a vehicle?
Q33. What is the name of clutch?
Q34. What is the servicing procedure carried out in the wheel?
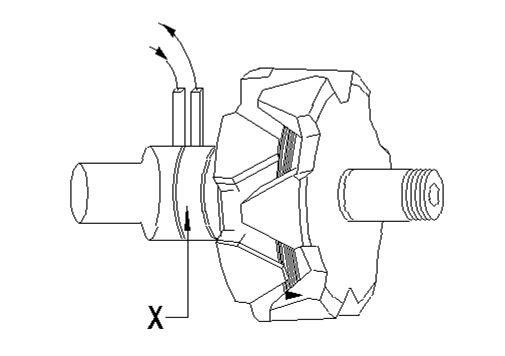
Q35. What is the name of part marked as ‘X’ in the rotor assembly?
Q36. What is the function of clutch?
Q37. Which part of tyre referred as ‘Crown’?
Q38. What is the validity period for transport vehicle license?
Q39. What is the cause for “Wheel shimming at low speed”?
Q40. What is the purpose of ‘V’ pulley in the charging system?
Q41. What is the possible cause for starter motor not running?
Q42. What is the name of brake adjuster?
Q43. Which light give indication to the traffic behind the vehicle for slowing down?
Q44. Which type of ECU is the combination of ECM and TCM in the vehicle?
Q45. What is the necessity of square cut seals?
Q46. What is achieved through spark plug end gap design?
Q47. What is the type of starter motor circuit?
Q48. What is the permitted diffraction angle of double joint?
Q49. Which type of sensor located at the exhaust manifold?
Q50. What is the function of solenoid switch?
Mechanic Motor Vehicle 2nd Year cbt exam paper 2
You got {{userScore}} out of {{maxScore}} correct
{{title}}
{{image}}
{{content}}
Youtube Click here
Telegram Group Join Now
Whatsapp Group Join Now
Facebook Group Join Now
Instagram Follow
Application Download Now

Leave a Reply

Your email address will not be published. Required fields are marked *