Wednesday, April 15, 2026

ITI Exam

आईटीआई परीक्षा की बेहतर तैयारी

ITI Exam

आईटीआई परीक्षा की बेहतर तैयारी

ITI CBT Exam Paper

ITI Mechanic Refrigeration and Air Conditioner (MRAC) 2nd Year CBT Exam Practice Paper 5

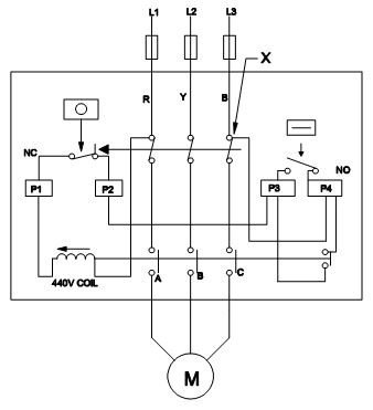
Q1. What is the name of component marked as X in motor starter? / मोटर स्टार्टर में X के रूप में चिह्नित घटक का नाम क्या है?
Q2. How the cooling effect is improved in cooling tower? / कूलिंग टॉवर में शीतलन प्रभाव में सुधार कैसे होता है?
Q3. What is tested by 12V DC battery on compressor used in automobile air conditioner? / ऑटोमोबाइल एयर कंडीशनर में प्रयुक्त कंप्रेसर पर 12V डीसी बैटरी द्वारा क्या परीक्षण किया जाता है?
Q4. What is the purpose of relief valve in force feed lubricating system? / ʺफोर्सेड फीड लुब्रिकेशन प्रणाली में रिलीफ़ वाल्व का उद्देश्य क्या है?
Q5. Which fan is used to handle the direction of air flow 90° away from the inlet? / इनलेट से 90 ° दूर वायु प्रवाह की दिशा को संभालने के लिए किस पंखे का उपयोग किया जाता है?
Q6. What is the name of part marked as X? / X के रूप में चिह्नित भाग का नाम क्या है?
Q7. Which relay is used to change star connection to delta connection for three phase compressor motor? / तीन चरण कंप्रेसर मोटर के लिए डेल्टा कनेक्शन के स्टार कनेक्शन को बदलने के लिए किस रिले का उपयोग किया जाता है?
Q8. What is the preventive maintenance schedule of blower motor’s speed and end play in package AC? | पैकेज एसी में ब्लोअर मोटर की गति और एंड प्ले की निवारक रखरखाव अनुसूची क्या है?
Q9. Which electrical fault reduces the cooling efficiency of water in water coolers? / कौन सा विद्युत दोष वाटर कूलर में पानी की कूलिंग क्षमता को कम कर देता है?
Q10. Which electronic component of mobile A/C is amplified and used to control or switch the A/C clutch on or off? / मोबाइल ए/सी के किस इलेक्ट्रॉनिक कंपोनेंट्स को प्रवर्धित किया जाता है और ए/सी क्लच को चालू या बंद करने या नियंत्रित करने के लिए उपयोग किया जाता है?
Q11. Which one is thermostat in figure? / चित्र में थर्मोस्टेट कौन सा है?
Q12. How to over come problem of frosting on ice cube machine evaporator? / आइस क्यूब मशीन इवेपोरेटर पर फ्रॉस्टिंग की समस्या से कैसे निपटें?
Q13. What is the remedy for insufficient cool supply air from package AC? / पैकेज एसी से अपर्याप्त शांत आपूर्ति हवा के लिए क्या उपाय है?
Q14. What is the cause of bursting starting capacitor while in water cooler circuit? / वाटर कूलर सर्किट में स्टार्टिंग कैपेसिटर फटने का क्या कारण है?
Q15. What is measured by clamp tester during “Test run” of package AC? / पैकेज एसी के ʺटेस्ट रनʺ के दौरान क्लैंप परीक्षक द्वारा क्या मापा जाता है?
Q16. What is the function of condenser water outlet pump in water cooled condenser? / वाटर कूल्ड कंडेनसर में कंडेनसर वॉटर आउटलेट पंप का क्या कार्य है?
Q17. What is the reason for over flow in water tank of storage type water cooler? / स्टोरेज टाइप वाटर कूलर के पानी के टैंक में ओवर फ्लो का क्या कारण है?
Q18. What is the symptoms of poor pumping in Refrigeration commercial compressor? / रेफ्रिजरेशन वाणिज्यिक कम्प्रेसर में खराब पम्पिंग के लक्षण क्या हैं?
Q19. Which thickness of PUF has the least thermal conductivity? / PUF की मोटाई किसमें सबसे कम तापीय चालकता है?
Q20. Which walk in cooler is selected for storing fruits and vegetables? / फलों और सब्जियों के भंडारण के लिए कौन सा वॉक इन कूलर चुना जाता है?
Q21,. Which operation is carried out before replacing low pressure side components in ice plant? / आइस प्लांट में निम्न दबाव वाले घटकों की जगह लेने से पहले कौन सा ऑपरेशन किया जाता है?
Q22. What is the status of refrigerant at ʺXʺ in figure? / चित्र में ʺXʺ पर रेफ्रिजरेंट की स्थिति क्या है?
Q23. What is the name of tool shown in figure? / चित्र में दिखाए गए टूल का नाम क्या है?
Q24. How to prevent the leakage of tube inside the shell and tube condenser? / ʺशेल और ट्यूब कंडेनसर के अंदर ट्यूब के रिसाव को कैसे रोकें?
Q25. Which component removes the burrs and moisture from the circulating refrigerant in AC plant? / कौन सा घटक एसी प्लांट में सर्कुलेटिंग रेफ्रीजरेंट से बर्र और नमी को हटा देता है?
Q26. Why separate recovery machines are required for CFC and HFC system? / CFC और HFC सिस्टम के लिए अलग-अलग रिकवरी मशीनों की आवश्यकता क्यों है?
Q27. Which part of electronic filter removes tobacco smoke and odours? / इलेक्ट्रॉनिक फिल्टर का कौन सा भाग तंबाकू के धुएं और गंध को हटाता है?
Q28. What is the purpose of using humidistat in an industrial AC plant? / एक औद्योगिक एसी संयंत्र में ह्यूमिडिस्टैट का उपयोग करने का उद्देश्य क्या है?
Q29. What is the reason for over flowing of water in reservoir of evaporative condenser? / वाष्पीकरणीय संघनित्र के जलाशय में पानी के बहने का क्या कारण है?
Q30. What is the reason for “the ice cube machine does not stop” though the bin is full of ice cubes? / आइस क्यूब मशीन बंद नहीं करती हैʺ के लिए क्या कारण है, हालांकि बिन बर्फ के टुकड़ों से भरा है?
Q31. What is the preventive yearly maintenance of cooling tower sump? / कूलिंग टॉवर संप का प्रिवेंटिव मेंटेनेंस क्या है?
Q32. How the power consumed by the motor varies with its speed in VFD? / VFD में मोटर द्वारा खपत की जाने वाली शक्ति किस प्रकार बदलती है?
Q33. What is the reason for short cycling of LP control switch in AC plant? / एसी प्लांट में LP कंट्रोल स्विच के छोटे साइकलिंग का कारण क्या है?
Q34. Which closest temperature of water is achieved in cooling tower if the efficiency is maximum? / यदि दक्षता अधिकतम हो तो कूलिंग टावर में पानी का कौन सा निकटतम तापमान प्राप्त किया जाता है?
Q35. What will be the effect on unit if blower wheel slips on shaft? / यदि ब्लोअर व्हील शाफ्ट पर फिसल जाए तो यूनिट पर क्या प्रभाव पड़ेगा?
Q36. Which refrigerant system requires non-sparking (sealed) electrical components? / किस रेफ्रीजरेंट प्रणाली में गैर-स्पार्किंग (सील) विद्युत घटकों की आवश्यकता होती है?
Q37. Why the space between the two layers of glass door is vacuumed in visible cooler? / क्यों कांच के दरवाजे की दो परतों के बीच का स्थान दृश्यमान कूलर में वैक्यूम किया जाता है?
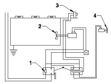
Q38. What is the name of part indicating in Multiple zone parts sketch ʺXʺ? / मल्टीपल ज़ोन पार्ट्स स्केच ʺXʺ में दर्शाने वाले भाग का नाम क्या है?
Q39. What is the effect of defective oil pump in compressor? / कंप्रेसर में दोषपूर्ण तेल पंप का क्या प्रभाव है?
Q40. Which defective part influences dust accumulate on the evaporator coil? / कौन सा दोषपूर्ण भाग ईवापोरेटर क्वॉइल पर धूल जमा होने को प्रभावित करता है?
Q41. What is the name of part marked as X in open type reciprocating compressor? / ओपन टाइप रेसिप्रोकटिंग कंप्रेसर में X ʹके रूप में चिह्नित भाग का नाम क्या है?
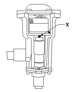
Q42. What is the name of part marked as X in electronic expansion valve? / इलेक्ट्रॉनिक विस्तार वाल्व में X के रूप में चिह्नित भाग का नाम क्या है?
Q43. Which secondary refrigerant is used for human comfort in chiller plant AC? / चिलर प्लांट AC में मानव आराम के लिए किस माध्यमिक प्रशीतक का उपयोग किया जाता है?
Q44. What is the expansion of ADP? / ADP का विस्तार क्या है?
Q45. What is the purpose of valves in chiller lines AC plants? / चिलर लाइन्स AC प्लांट्स में वाल्वों का उद्देश्य क्या है?
Q46. What is the purpose of installing the part marked as X in console type package air conditioner? / कंसोल प्रकार पैकेज एयर कंडीशनर में X के रूप में चिह्नित भाग को स्थापित करने का उद्देश्य क्या है?
Q47. Which valve is first closed to start the pump down operation in central AC plant? / सेंट्रल एसी प्लांट में पंप डाउन ऑपरेशन शुरू करने के लिए किस वाल्व को पहले बंद किया जाता है?
Q48. What is the name of the flame shown in figure? / चित्र में दिखाई गई फ्लेम का क्या नाम है?
Q49. What is the name of relay used in bottle cooler? / बोटल कूलर में प्रयुक्त रिले का क्या नाम है?
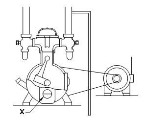
Q50. What is the part marked as X in ice plant? / बर्फ संयंत्र में X के रूप में चिह्नित भाग क्या है?
Refrigeration and Air Conditioning Technician 2nd Year Cbt Exam Paper 5
You got {{userScore}} out of {{maxScore}} correct
{{title}}
{{image}}
{{content}}
Youtube Click here
Telegram Group Join Now
Whatsapp Group Join Now
Facebook Group Join Now
Instagram Follow
Application Download Now

Leave a Reply

Your email address will not be published. Required fields are marked *