Tuesday, November 11, 2025

ITI Exam

आईटीआई परीक्षा की बेहतर तैयारी

ITI Exam

आईटीआई परीक्षा की बेहतर तैयारी

ITI CBT Exam Paper

ITI Mechanic Refrigeration and Air Conditioner (MRAC) 1st Year CBT Exam Practice Paper 5

Q1. What is the status of refrigerant in evaporator at refrigeration cycle? / रेफ्रिजरेशन साइकल में बाष्पीकरण करने वाले रेफ्रिजरेंट की स्थिति क्या है?
Q2. Which component stops the compressor motor while discharge pressure of the compressor exceeds? / कंप्रेसर का डिस्चार्ज दबाव अधिक होने पर कौन सा घटक कंप्रेसर मोटर को रोक देता है?
Q3. How to neutralise the concentration of leaked ammonia from air? / हवा से लीक अमोनिया की एकाग्रता को बेअसर कैसे करें?
Q4. Which capacitor is connected in series with starting winding of CSR motor during operation? / ऑपरेशन के दौरान सीएसआर मोटर की स्टार्टिंग वाइंडिंग के साथ श्रृंखला में कौन सा संधारित्र जुड़ा हुआ है?
Q5. What is the symbol for resistance? / प्रतिरोध का प्रतीक क्या है?
Q6. Which type of insulation material is used in modern refrigerators?
Q7. What happens when the refrigerating system is over charged? / क्या होता है जब रेफ्रिजरेटिंग सिस्टम अधिक चार्ज हो जाता है?
Q8. What is the capacity of doing work?
Q9. What is the cause for frequent tripping of circuit breaker while starting a single phase motor? / सिंगल फेज मोटर शुरू करते समय सर्किट ब्रेकर के लगातार ट्रिपिंग का कारण क्या है?
Q10. What is the name of button to let the AC run or stop by pressing? / AC को दबाने या बंद करने वाले बटन का क्या नाम है?
Q11. What is the preventive measure followed while removing a taper shank drill? / टेंपर शैंक ड्रिल को हटाते समय क्या निवारक उपाय अपनाए जाते हैं?
Q12. Which motor is used to drive the condenser fan of out-door unit in ductable split air conditioner? / डक्टेबल स्प्लिट एयर कंडीशनर में आउट-डोर यूनिट के कंडेंसर पंखे को चलाने के लिए किस मोटर का उपयोग किया जाता है?
Q13. What is the tool used to remove the slag from the welding?
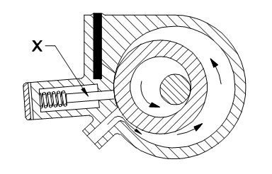
Q14. What is the name of part marked as X?
Q15. Which part does the job of splashing oil to bearing is lubrication system? / लुब्रिकेशन प्रणाली का कौन सा भाग ऑयल छिड़कने से लेकर बियरिंग तक का कार्य करता है?
Q16. What is the effect of sub cooling the liquid in liquid line of vapour compression system? / वाष्प संपीड़न प्रणाली की तरल रेखा में तरल को उप-ठंडा करने का क्या प्रभाव होता है?
Q17. What is the effect of moist air present inside the hermetic system? / हर्मेटिक सिस्टम के अंदर मौजूद नम हवा का क्या प्रभाव होता है?
Q18. What is the angle of blade of try square? / ट्राई स्क्वायर के ब्लेड का कोण कितना होता है?
Q19. Which component is connected in series with defrost heater in a frost free refrigerator?
Q20. Which simple systems were designed mainly for small to medium commercial applications? / कौन से सरल सिस्टम मुख्य रूप से छोटे से मध्यम वाणिज्यिक अनुप्रयोगों के लिए डिज़ाइन किए गए थे?
Q21. How the pressure drop of refrigerant flow is minimised during installation of indoor and outdoor units in ductable split AC? / डक्टेबल स्प्लिट एसी में इनडोर और आउटडोर इकाइयों की स्थापना के दौरान रेफ्रिजरेंट प्रवाह का दबाव कम कैसे होता है?
Q22. Which type of drier filter is suitable for HFC refrigerants? / HFC रेफ्रिजरेंट के लिए किस प्रकार का ड्रायर फ़िल्टर उपयुक्त है?
Q23. What is the part marked as X in vapour compression system?
Q24. What is the temperature set in thermostat that stops the compressor motor?
Q25. What is the name of instrument used to check high resistance?
Q26. What is the purpose of providing gas ballast in two stage rotary vacuum pump? / दो चरण रोटरी वैक्यूम पंप में गैस ब्लास्ट प्रदान करने का उद्देश्य क्या है?
Q27. How the refrigerants are classified based on heat absorption by latent and sensible heat?
Q28. What is the type of chisel?
Q29. What is the reason for no cooling in a frost free refrigerator? / फ्रॉस्ट फ्री रेफ्रिजरेटर में ठंडा न होने का क्या कारण है?
Q30. Where the refrigerant is stored in split AC during pump down operation?
Q31. How much minimum gap is left on either side of the refrigerator from the wall during installation? / स्थापना के दौरान दीवार से रेफ्रिजरेटर के दोनों ओर कितना न्यूनतम अंतर छोड़ा जाता है?
Q32. What is the reason for washing copper sheets after soldering? / सोल्डरिंग के बाद कॉपर शीट धोने का क्या कारण है?
Q33. Which is the mounting location of evaporator in ductable split unit?
Q34. What is the colour of acetylene hose pipe in oxy - acetylene welding set?
Q35. What is used to check the seating of gasket on the body of the refrigerator? / रेफ्रिजरेटर की बॉडी पर गैसकेट की सीटिंग की जांच करने के लिए किसका उपयोग किया जाता है?
Q36. What is the unit of electrical energy?
Q37. What is the name of the part of window A/C shown in figure? / चित्र में दिखाए गए विंडो ए/सी के भाग का नाम क्या है?
Q38. What is the storage capacity of oxygen cylinder?
Q39. What is the material composition of a Tin man’s solder?
Q40. Which one indicates condenser fan motor in figure? / चित्र में कौन सा कंडेनसर पंखे की मोटर को दर्शाता है?
Q41. What is the category of R 502 refrigerant?
Q42. What is the cause for reduced condenser capacity in air cooled condenser? / एयर कूल्ड कंडेनसर में कंडेनसर क्षमता कम होने का क्या कारण है?
Q43. What is the part marked as X in window air conditioner?
Q44. Which two components do the compressor function in vapour absorption system?
Q44. What is the advantage of universal colour coding of refrigerant cylinders? / रेफ्रिजरेंट सिलेंडर के सार्वभौमिक रंग कोडिंग का क्या फायदा है?
Q46. Which evaporator is known as extended surface evaporator?
Q47. What is the formula for COP? / COP का फार्मूला क्या है?
Q48. What is the name of component used in refrigerator?
Q49. What is the use of a starting capacitor in single phase induction motor?
Q50. Which thermodynamic process the temperature is kept constant?
Refrigeration and Air Conditioning Technician 1st Year Cbt Exam Paper 5
You got {{userScore}} out of {{maxScore}} correct
{{title}}
{{image}}
{{content}}
Youtube Click here
Telegram Group Join Now
Whatsapp Group Join Now
Facebook Group Join Now
Instagram Follow
Application Download Now

Leave a Reply

Your email address will not be published. Required fields are marked *