Thursday, May 21, 2026

ITI Exam

आईटीआई परीक्षा की बेहतर तैयारी

ITI Exam

आईटीआई परीक्षा की बेहतर तैयारी

ITI CBT Exam Paper

ITI Mechanic Motor Vehicle (MMV) 1st Year CBT Exam Practice Paper 4

Q1. What is the name of the Electronic Symbol?
Q2. Which are the materials commonly used in the catalytic converter?
Q3. What is the name of the piston head?
Q4. What is the name of the stroke?
Q5. What instrument used to check run out of commutator?
Q6. What type of bearing fitted in the connecting rod big end?
Q7 . What is the reason pump does not suck the oil?
Q8. Which governor has fitted the control rack with diaphragm?
Q9. What is ovality of a bore?
Q10. What is the material of positive plate in the lead acid battery?
Q11. Which type of the emission control system that blow by gases are feed in to the inlet manifold of a running engine?
Q12. Which part connect the piston with connecting rod?
Q13. Which instrument is used to check the continuity of the field coils of DC motor?
Q14. What is the name of the indicator?
Q15. What is the battery charge rate indicates by the floating level of hydrometer?
Q16. Which engine has more length?
Q17. How can identify a four stroke engine?
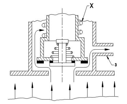
Q18. What is the name of part marked as ‘x’?
Q19. What is the property of a bearing helps to with stand metal to metal contact?
Q20. What is the possible cause of high fuel consumption?
Q21. What is the use of hydrometer?
Q22. Which is the safety precaution to be adopted in handling diesel machine?
Q23.How many valves are used in radiator cap?
Q24. What is the effect if thermostat valve is struck?
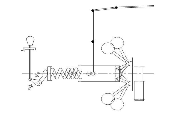
Q25. What is the name of caliper?
Q26. What is the type of governor?
Q27. Which tool used to tighten the nuts and bolts at recommended tightness?
Q28. What is the name of the safety sign?
Q29. What is the name of the part marked as ‘X’?
Q30. What is the name of caliper?
Q31. How the ports are opened and closed in two stroke engine?
Q32. How many times, ports are open in two rotation of crank shaft in two stroke engine?
Q33. How the semi conductor material can be identified with atomic structure?
Q34. Which is transferring energy for the piston to crankshaft?
Q35. Which type of protective equipment used to protect head?
Q36. What is the name of the screw driver?
Q37. How the CRDI injectors pressure control valve operated?
Q38. Which one is the properties of lubricant?
Q39. What is the name of the indicator?
Q40. Where is the turbocharger mounted?
Q41. Where the exhaust system muffler is connected?
Q42. Which spanner used for zero setting in outside micrometer?r
Q43. What is the main purpose of the lubricant?
Q44. What is the name of the indicator?
Q45. What is ovality of a crank shaft?
Q46. Which one of the hydro carbon(HC) emitted due to lack of oxygen?
Q47. Where the catalytic converters are used?
Q48. What is the name of the part marked as ‘X’?
Q49. What is the name of hammer used in the operation?
Q50. Which part in the internal gear pump act as seal?
Mechanic Motor Vehicle 1st Year cbt exam paper 4
You got {{userScore}} out of {{maxScore}} correct
{{title}}
{{image}}
{{content}}
Youtube Click here
Telegram Group Join Now
Whatsapp Group Join Now
Facebook Group Join Now
Instagram Follow
Application Download Now

Leave a Reply

Your email address will not be published. Required fields are marked *