Friday, May 1, 2026

ITI Exam

आईटीआई परीक्षा की बेहतर तैयारी

ITI Exam

आईटीआई परीक्षा की बेहतर तैयारी

ITI CBT Exam Paper

ITI Mechanic Motor Vehicle (MMV) 1st Year CBT Exam Practice Paper 1

Q1. What is the name of the operation?
Q2. Which should not be used on burning liquids?
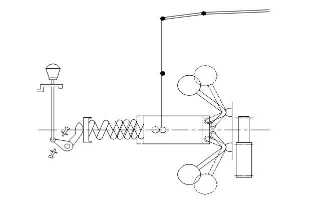
Q3. What is the name of the part marked as ‘X’?
Q4, What is the name of cranking system?
Q5. What is the type of governor?
Q6. Which is used to convert AC to DC in alternator?
Q7. What is the purpose of half round chisel?
Q8. What is the name of cleaning method?
Q9. Which acid is used in the lead acid Battery?
Q10. What is called the isolating the fire from the supply of oxygen by blanketing with foam and sand?
Q11. How many flywheel rotation requires to complete one cycle in two stroke engine?
Q12. What is the cause for uneven wear of bearings?
Q13. What is the name of the screw driver?
Q14. Which gauge used to check the spark plug gap?
Q15. Which process is taken place in catalytic converter?
Q16. What is the name of indicator?
Q17. Which is the bearing used in gear boxes?
Q18. Which type of vice is used to hold a job for drilling?
Q19. Which tool is used to measure the diameter of the crank shaft main journal?
Q20. Which type of the circuit leads to hazard effect?
Q21. When do we use the hand priming pump?
Q22. What is the possible cause of high fuel consumption?
Q23. Which type of lubrication system is used in two stroke engine?
Q24. Which class of fire comes under flammable liquids?
Q25. What is the specific gravity of fully charged battery?
Q26. What is the type of governor?
Q27. Which gauge is used to check the inflation of tyre?
Q28. What is the name of the bearing?
Q29. What is the purpose of the EVAP canister?
Q30. What is the name of the indicator?
Q31. Which of the following fuel quality determines fuel to flow?
Q32. Which tool is used to remove the piston ring?
Q33. Which tool is used to make external thread on the pipe?
Q34. . Which component is related to exhaust system?
Q35. What is the name of the part marked as ‘X’?
Q36. What is the name of the protection sign?
Q37. What is the purpose of a radiator pressure cap?
Q38. How the CRDI injectors pressure control valve operated?
Q39. Which drilling machine used to drill small dia holes upto 6 mm?
Q40. What is the name of the piston?
Q41. Name the type of muffler.
Q42. What is the name of marking instrument?
Q43. What is the name of the component?
Q44. Which device is vaporizing of fuel and mixing it with air in petrol engine?
Q45. How can identify a two stroke engine?
Q46. What is the purpose of water pump in cooling system?
Q47. Which metal in the fuel is to be avoided while fitting catalytic converter?
Q48. Which winding have thick wire in solenoid switch?
Q49. Which device used to step up the voltage in the spark ignition system?
Q50. What is the distance covered by the spindle in one full rotation of thimble in outside micrometer?
Mechanic Motor Vehicle 1st Year cbt exam paper 1
You got {{userScore}} out of {{maxScore}} correct
{{title}}
{{image}}
{{content}}
Youtube Click here
Telegram Group Join Now
Whatsapp Group Join Now
Facebook Group Join Now
Instagram Follow
Application Download Now

Leave a Reply

Your email address will not be published. Required fields are marked *